The image shows an adjustable magnifying glass with integrated lighting. The long arm is flexible and allows for easy positioning for precise work or reading.
The image displays a feature-rich magnifying glass with light, mounted on a flexible, white arm. The round lamp edge ensures even illumination. The background is simple and bright.
The image shows a modern light arm with a large, round lamp. The arm is swivelable and made of silver metal, with a clear, focused light inside the lamp.
The image displays a magnifying lamp with a round, transparent glass and an integrated ring of light. The arm is flexible and allows for various positions.
The image displays a modern magnifying glass with a large, round lens, surrounded by a slim silver frame. An adjustable arm allows for flexible positioning.
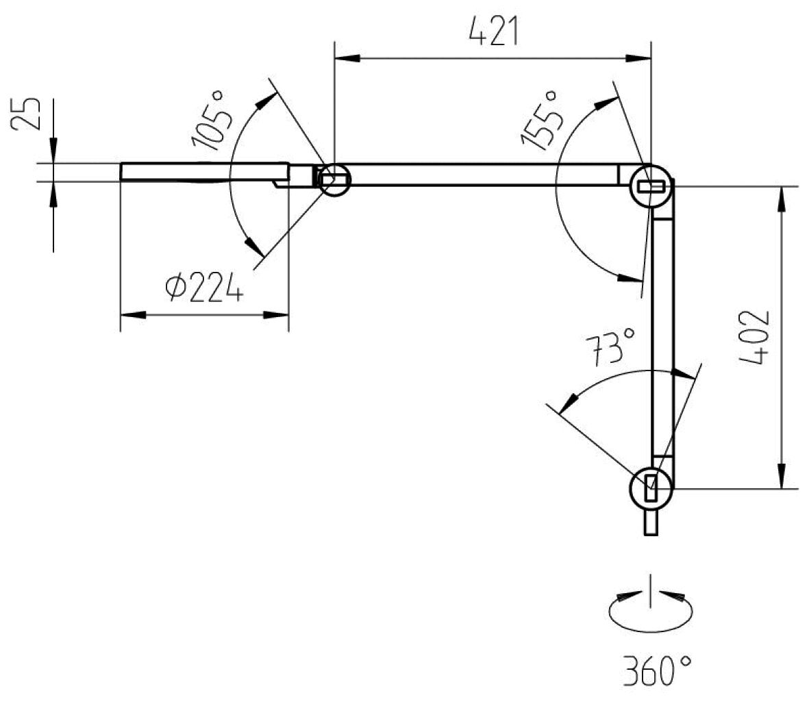
The image shows a technical drawing of a joint mechanism. Various dimensions and angles are indicated, describing the shape and movement properties of the mechanism.
Preview: The image shows an adjustable magnifying glass with integrated lighting. The long arm is flexible and allows for easy positioning for precise work or reading.
Preview: The image displays a feature-rich magnifying glass with light, mounted on a flexible, white arm. The round lamp edge ensures even illumination. The background is simple and bright.
Preview: The image shows a modern light arm with a large, round lamp. The arm is swivelable and made of silver metal, with a clear, focused light inside the lamp.
Preview: The image displays a magnifying lamp with a round, transparent glass and an integrated ring of light. The arm is flexible and allows for various positions.
Preview: The image displays a modern magnifying glass with a large, round lens, surrounded by a slim silver frame. An adjustable arm allows for flexible positioning.
Preview: The image shows a technical drawing of a joint mechanism. Various dimensions and angles are indicated, describing the shape and movement properties of the mechanism.

Product Family

Magnifier lamp MLP

Article image
Article description
Magnification
Color temperature
Luminous flux
Price
Compare
Show Compare List (0)